2024年浙江省高校招生职业技能操作考试报名时间公布!!!

浙江2024年高校招生职业技能操作考试报名已陆续展开。考生请关注各设区市发布的报名公告,了解报考安排。
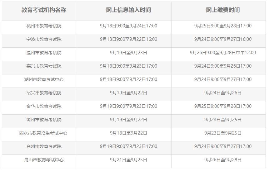
职业技能操作考试报名流程主要为网上信息输入和网上缴费两阶段,具体报名条件和安排等信息详见各设区市发布的职业技能操作考试 报名公告。考生可通过下表“点击查看”有关公告,并按当地公告确定的时间和要求报考。

上一篇:暂无
下一篇:暂无
浙江单招网声明:
1、由于各方面情况的调整与变化,本网提供的考试信息仅供参考,考试信息以省考试院及院校官方发布的信息为准。
2、本网信息来源为其他媒体的稿件转载,免费转载出于非商业性学习目的,版权归原作者所有,如有内容与版权问题等请与本站联系。联系邮箱:952056566@qq.com
浙江单招网推荐文章
-
在线咨询
-
在线咨询单考单招相关问题





